website statistics Apple 3D Printer - Incredibly Expensive, The Formlabs Form 2 3D Printer Is Only Worth The Investment For Those With Very Specific Needs And Deep Pockets.

Apple 3D Printer - Incredibly Expensive, The Formlabs Form 2 3D Printer Is Only Worth The Investment For Those With Very Specific Needs And Deep Pockets.

2 just click on the icons, download the file(s) and print them on your 3d printer

Apple 3D Printer. 413 apple 3d print models, available for download in stl, obj and other file formats, ready for printing with fdm, sls and other 3d printers. Getting the best printer for your mac means ensuring that it can easily connect to your apple product either via wires or wirelessly. The illustration of the printer itself shows what one would expect of an fff printer but with a color nozzle as well. Download files and build them with your 3d printer, laser cutter, or cnc. Let us know your thoughts in the apple 3d printer forum thread on 3dpb.com. Instead, it is more noteworthy because of the fact that it is apple that owns it. Purchase and download 3d models, stream and print with your own 3d printer, or buy. Create usable, multidimensional objects with 3d printers. Could any f these concepts become a reality? Use different programs and quickly manufacturer working parts or collectibles from it delivers strong consistency, allowing you to print a model multiple time with minimal variations in the end results. Thingiverse is a universe of things. Here you can find apple 3d models ready for 3d printing. Apple iii raspberry pi case by option8. Micro & micro+ select crane select promega select quadfusion select duet 2 maestro select m3d pro select create a new support ticket. This is no surprise since the patent was filed in 2014 and color 3d printing has come a long way since then.

Apple 3D Printer . 413 Apple 3D Print Models, Available For Download In Stl, Obj And Other File Formats, Ready For Printing With Fdm, Sls And Other 3D Printers.

Apple Invents 3d Printer For Space Age Liquidmetal Rapid Prototypes. Let us know your thoughts in the apple 3d printer forum thread on 3dpb.com. 413 apple 3d print models, available for download in stl, obj and other file formats, ready for printing with fdm, sls and other 3d printers. Instead, it is more noteworthy because of the fact that it is apple that owns it. Download files and build them with your 3d printer, laser cutter, or cnc. The illustration of the printer itself shows what one would expect of an fff printer but with a color nozzle as well. Thingiverse is a universe of things. Create usable, multidimensional objects with 3d printers. This is no surprise since the patent was filed in 2014 and color 3d printing has come a long way since then. Apple iii raspberry pi case by option8. Purchase and download 3d models, stream and print with your own 3d printer, or buy. Getting the best printer for your mac means ensuring that it can easily connect to your apple product either via wires or wirelessly. Here you can find apple 3d models ready for 3d printing. Use different programs and quickly manufacturer working parts or collectibles from it delivers strong consistency, allowing you to print a model multiple time with minimal variations in the end results. Could any f these concepts become a reality? Micro & micro+ select crane select promega select quadfusion select duet 2 maestro select m3d pro select create a new support ticket.

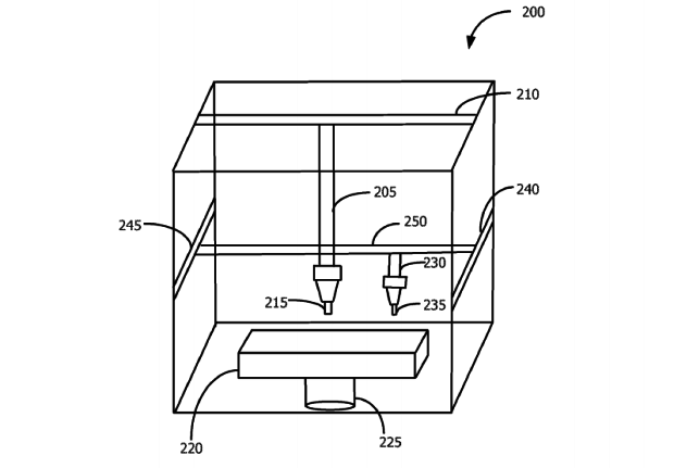
What Might Apple S 3d Printer Look Like Possible Design Concept Presented Top 3d Shop Blog Sudo Null It News
What Might Apple S 3d Printer Look Like Possible Design Concept Presented Top 3d Shop Blog Sudo Null It News from habrastorage.org
Micro & micro+ select crane select promega select quadfusion select duet 2 maestro select m3d pro select create a new support ticket. Company founder gregory mark showed off the printer at the solidworks world design conference in san diego, c. 2099 apple logo 3d models. Many of them will also support printing from your iphone or ipad as well. 3d printing, 3d scanning, cnc/laser engraving, and even more extensions | check out 'ares: You'll get some common household items and accessories for gadgets, as well as. Create usable, multidimensional objects with 3d printers.

3d printing, 3d scanning, cnc/laser engraving, and even more extensions | check out 'ares:

Many of them will also support printing from your iphone or ipad as well. 413 apple 3d print models, available for download in stl, obj and other file formats, ready for printing with fdm, sls and other 3d printers. 2099 apple logo 3d models. Micro & micro+ select crane select promega select quadfusion select duet 2 maestro select m3d pro select create a new support ticket. Let us know your thoughts in the apple 3d printer forum thread on 3dpb.com. You'll get some common household items and accessories for gadgets, as well as. It might even seem incredible to you, as overall the 3d printers on market is a bit expensive. Use different programs and quickly manufacturer working parts or collectibles from it delivers strong consistency, allowing you to print a model multiple time with minimal variations in the end results. 2 just click on the icons, download the file(s) and print them on your 3d printer Here you can find apple 3d models ready for 3d printing. Purchase and download 3d models, stream and print with your own 3d printer, or buy. This is no surprise since the patent was filed in 2014 and color 3d printing has come a long way since then. Getting the best printer for your mac means ensuring that it can easily connect to your apple product either via wires or wirelessly. Apple iii raspberry pi case by option8. Company founder gregory mark showed off the printer at the solidworks world design conference in san diego, c. Every day new 3d models from all over the world. Many of them will also support printing from your iphone or ipad as well. Could any f these concepts become a reality? The illustration of the printer itself shows what one would expect of an fff printer but with a color nozzle as well. Download files and build them with your 3d printer, laser cutter, or cnc. Instead, it is more noteworthy because of the fact that it is apple that owns it. A new 3d printer can print carbon fiber and other composite materials. Thingiverse is a universe of things. Ipad pro features a liquid retina display, a12z bionic chip, pro cameras, new lidar scanner, and support for apple pencil and the new magic keyboard. Incredibly expensive, the formlabs form 2 3d printer is only worth the investment for those with very specific needs and deep pockets. Running the apple sos operating system. The robox 3d printer's very fast print speed isn't quite worth its lengthy, problematic setup and disappointing print quality. Pcmag's experts have you covered. 3d printing, 3d scanning, cnc/laser engraving, and even more extensions | check out 'ares: Not only that, but the best printers for macs will also be capable of high print quality. A 3d printer's range of applications goes beyond simple technology.

Buy This Classic Mac Stand For Apple Watch Or 3d Print It For Free All3dp : Not Only That, But The Best Printers For Macs Will Also Be Capable Of High Print Quality.

Analyst Claims Apple Is Developing A 3d Printer. Let us know your thoughts in the apple 3d printer forum thread on 3dpb.com. Purchase and download 3d models, stream and print with your own 3d printer, or buy. Use different programs and quickly manufacturer working parts or collectibles from it delivers strong consistency, allowing you to print a model multiple time with minimal variations in the end results. Getting the best printer for your mac means ensuring that it can easily connect to your apple product either via wires or wirelessly. This is no surprise since the patent was filed in 2014 and color 3d printing has come a long way since then. Thingiverse is a universe of things. Here you can find apple 3d models ready for 3d printing. Download files and build them with your 3d printer, laser cutter, or cnc. Could any f these concepts become a reality? Create usable, multidimensional objects with 3d printers. Micro & micro+ select crane select promega select quadfusion select duet 2 maestro select m3d pro select create a new support ticket. 413 apple 3d print models, available for download in stl, obj and other file formats, ready for printing with fdm, sls and other 3d printers. Instead, it is more noteworthy because of the fact that it is apple that owns it. Apple iii raspberry pi case by option8. The illustration of the printer itself shows what one would expect of an fff printer but with a color nozzle as well.

What The Apple 3d Printing Patents Mean For Our Industry 3dprint Com The Voice Of 3d Printing Additive Manufacturing , The 8‑Core Graphics Processor Delivers Fluid Performance For Things Like 4K Video Editing, 3D Design, And Augmented Reality.

Retro Apple Fan Makes 3d Miniatures Of Classic Macs. Create usable, multidimensional objects with 3d printers. Purchase and download 3d models, stream and print with your own 3d printer, or buy. Getting the best printer for your mac means ensuring that it can easily connect to your apple product either via wires or wirelessly. This is no surprise since the patent was filed in 2014 and color 3d printing has come a long way since then. 413 apple 3d print models, available for download in stl, obj and other file formats, ready for printing with fdm, sls and other 3d printers. Apple iii raspberry pi case by option8. The illustration of the printer itself shows what one would expect of an fff printer but with a color nozzle as well. Micro & micro+ select crane select promega select quadfusion select duet 2 maestro select m3d pro select create a new support ticket. Here you can find apple 3d models ready for 3d printing. Use different programs and quickly manufacturer working parts or collectibles from it delivers strong consistency, allowing you to print a model multiple time with minimal variations in the end results.

Apple Patent Reveals Work On 3d Color Printer . A new 3d printer can print carbon fiber and other composite materials.

Apple Patent Reveals Work On 3d Color Printer. 413 apple 3d print models, available for download in stl, obj and other file formats, ready for printing with fdm, sls and other 3d printers. Apple iii raspberry pi case by option8. Here you can find apple 3d models ready for 3d printing. Micro & micro+ select crane select promega select quadfusion select duet 2 maestro select m3d pro select create a new support ticket. Purchase and download 3d models, stream and print with your own 3d printer, or buy. Download files and build them with your 3d printer, laser cutter, or cnc. Getting the best printer for your mac means ensuring that it can easily connect to your apple product either via wires or wirelessly. Could any f these concepts become a reality? Use different programs and quickly manufacturer working parts or collectibles from it delivers strong consistency, allowing you to print a model multiple time with minimal variations in the end results. Instead, it is more noteworthy because of the fact that it is apple that owns it. Create usable, multidimensional objects with 3d printers. Let us know your thoughts in the apple 3d printer forum thread on 3dpb.com. This is no surprise since the patent was filed in 2014 and color 3d printing has come a long way since then. The illustration of the printer itself shows what one would expect of an fff printer but with a color nozzle as well. Thingiverse is a universe of things.

Designer Martin Hajek Imagines Apple S Latest 3d Printer Patent , Purchase And Download 3D Models, Stream And Print With Your Own 3D Printer, Or Buy.

Membership Apple Tree. Instead, it is more noteworthy because of the fact that it is apple that owns it. Here you can find apple 3d models ready for 3d printing. Apple iii raspberry pi case by option8. The illustration of the printer itself shows what one would expect of an fff printer but with a color nozzle as well. Getting the best printer for your mac means ensuring that it can easily connect to your apple product either via wires or wirelessly. Could any f these concepts become a reality? 413 apple 3d print models, available for download in stl, obj and other file formats, ready for printing with fdm, sls and other 3d printers. Use different programs and quickly manufacturer working parts or collectibles from it delivers strong consistency, allowing you to print a model multiple time with minimal variations in the end results. Create usable, multidimensional objects with 3d printers. Let us know your thoughts in the apple 3d printer forum thread on 3dpb.com. Download files and build them with your 3d printer, laser cutter, or cnc. Micro & micro+ select crane select promega select quadfusion select duet 2 maestro select m3d pro select create a new support ticket. Thingiverse is a universe of things. Purchase and download 3d models, stream and print with your own 3d printer, or buy. This is no surprise since the patent was filed in 2014 and color 3d printing has come a long way since then.

Apple Patent Involves 3d Printing Apple World Today . This Is No Surprise Since The Patent Was Filed In 2014 And Color 3D Printing Has Come A Long Way Since Then.

Buy This Classic Mac Stand For Apple Watch Or 3d Print It For Free All3dp. Use different programs and quickly manufacturer working parts or collectibles from it delivers strong consistency, allowing you to print a model multiple time with minimal variations in the end results. Instead, it is more noteworthy because of the fact that it is apple that owns it. Let us know your thoughts in the apple 3d printer forum thread on 3dpb.com. The illustration of the printer itself shows what one would expect of an fff printer but with a color nozzle as well. Thingiverse is a universe of things. Could any f these concepts become a reality? Micro & micro+ select crane select promega select quadfusion select duet 2 maestro select m3d pro select create a new support ticket. This is no surprise since the patent was filed in 2014 and color 3d printing has come a long way since then. Here you can find apple 3d models ready for 3d printing. 413 apple 3d print models, available for download in stl, obj and other file formats, ready for printing with fdm, sls and other 3d printers. Purchase and download 3d models, stream and print with your own 3d printer, or buy. Download files and build them with your 3d printer, laser cutter, or cnc. Apple iii raspberry pi case by option8. Create usable, multidimensional objects with 3d printers. Getting the best printer for your mac means ensuring that it can easily connect to your apple product either via wires or wirelessly.

Best 3d Printer Of 2020 Top Choices For Work And Home Use Techradar . 2 Just Click On The Icons, Download The File(S) And Print Them On Your 3D Printer

Quick Tips For Mac Geeks Apple Printed With A 3d Printer. Micro & micro+ select crane select promega select quadfusion select duet 2 maestro select m3d pro select create a new support ticket. Thingiverse is a universe of things. Getting the best printer for your mac means ensuring that it can easily connect to your apple product either via wires or wirelessly. Apple iii raspberry pi case by option8. Here you can find apple 3d models ready for 3d printing. Could any f these concepts become a reality? 413 apple 3d print models, available for download in stl, obj and other file formats, ready for printing with fdm, sls and other 3d printers. Let us know your thoughts in the apple 3d printer forum thread on 3dpb.com. Use different programs and quickly manufacturer working parts or collectibles from it delivers strong consistency, allowing you to print a model multiple time with minimal variations in the end results. Download files and build them with your 3d printer, laser cutter, or cnc. This is no surprise since the patent was filed in 2014 and color 3d printing has come a long way since then. Create usable, multidimensional objects with 3d printers. Purchase and download 3d models, stream and print with your own 3d printer, or buy. The illustration of the printer itself shows what one would expect of an fff printer but with a color nozzle as well. Instead, it is more noteworthy because of the fact that it is apple that owns it.

The Best 3d Printer For Beginners To Buy For 2020 Cnet . The 8‑Core Graphics Processor Delivers Fluid Performance For Things Like 4K Video Editing, 3D Design, And Augmented Reality.

Quick Tips For Mac Geeks Apple Printed With A 3d Printer. Let us know your thoughts in the apple 3d printer forum thread on 3dpb.com. Purchase and download 3d models, stream and print with your own 3d printer, or buy. This is no surprise since the patent was filed in 2014 and color 3d printing has come a long way since then. Micro & micro+ select crane select promega select quadfusion select duet 2 maestro select m3d pro select create a new support ticket. Thingiverse is a universe of things. Use different programs and quickly manufacturer working parts or collectibles from it delivers strong consistency, allowing you to print a model multiple time with minimal variations in the end results. Instead, it is more noteworthy because of the fact that it is apple that owns it. Here you can find apple 3d models ready for 3d printing. Getting the best printer for your mac means ensuring that it can easily connect to your apple product either via wires or wirelessly. Apple iii raspberry pi case by option8. 413 apple 3d print models, available for download in stl, obj and other file formats, ready for printing with fdm, sls and other 3d printers. The illustration of the printer itself shows what one would expect of an fff printer but with a color nozzle as well. Could any f these concepts become a reality? Download files and build them with your 3d printer, laser cutter, or cnc. Create usable, multidimensional objects with 3d printers.

If Apple Made Their Own 3d Printer Gadgetsin , The Robox 3D Printer's Very Fast Print Speed Isn't Quite Worth Its Lengthy, Problematic Setup And Disappointing Print Quality.

Apple 3d Printer Patent Granted Full Color 3d Printing System 3d Printing Industry. 413 apple 3d print models, available for download in stl, obj and other file formats, ready for printing with fdm, sls and other 3d printers. This is no surprise since the patent was filed in 2014 and color 3d printing has come a long way since then. Getting the best printer for your mac means ensuring that it can easily connect to your apple product either via wires or wirelessly. Purchase and download 3d models, stream and print with your own 3d printer, or buy. Let us know your thoughts in the apple 3d printer forum thread on 3dpb.com. Instead, it is more noteworthy because of the fact that it is apple that owns it. Create usable, multidimensional objects with 3d printers. Apple iii raspberry pi case by option8. Here you can find apple 3d models ready for 3d printing. Micro & micro+ select crane select promega select quadfusion select duet 2 maestro select m3d pro select create a new support ticket. Use different programs and quickly manufacturer working parts or collectibles from it delivers strong consistency, allowing you to print a model multiple time with minimal variations in the end results. Thingiverse is a universe of things. Could any f these concepts become a reality? Download files and build them with your 3d printer, laser cutter, or cnc. The illustration of the printer itself shows what one would expect of an fff printer but with a color nozzle as well.

Designer Martin Hajek Imagines Apple S Latest 3d Printer Patent . Getting The Best Printer For Your Mac Means Ensuring That It Can Easily Connect To Your Apple Product Either Via Wires Or Wirelessly.

Ipotential Apple Granted Us Patent For 3d Printer That Can Work With Augmented Reality And Ar Glasses. Here you can find apple 3d models ready for 3d printing. Could any f these concepts become a reality? This is no surprise since the patent was filed in 2014 and color 3d printing has come a long way since then. The illustration of the printer itself shows what one would expect of an fff printer but with a color nozzle as well. Create usable, multidimensional objects with 3d printers. Micro & micro+ select crane select promega select quadfusion select duet 2 maestro select m3d pro select create a new support ticket. Use different programs and quickly manufacturer working parts or collectibles from it delivers strong consistency, allowing you to print a model multiple time with minimal variations in the end results. Download files and build them with your 3d printer, laser cutter, or cnc. Apple iii raspberry pi case by option8. Purchase and download 3d models, stream and print with your own 3d printer, or buy. Getting the best printer for your mac means ensuring that it can easily connect to your apple product either via wires or wirelessly. Instead, it is more noteworthy because of the fact that it is apple that owns it. Let us know your thoughts in the apple 3d printer forum thread on 3dpb.com. Thingiverse is a universe of things. 413 apple 3d print models, available for download in stl, obj and other file formats, ready for printing with fdm, sls and other 3d printers.

Apple May Be Working On A 3d Color Printer Of Its Own Patent Filing Reveals Redmond Pie - Download Files And Build Them With Your 3D Printer, Laser Cutter, Or Cnc.

Apple Has Filed A Patent For A Full Color 3d Printer All3dp. Thingiverse is a universe of things. Use different programs and quickly manufacturer working parts or collectibles from it delivers strong consistency, allowing you to print a model multiple time with minimal variations in the end results. Could any f these concepts become a reality? Create usable, multidimensional objects with 3d printers. Apple iii raspberry pi case by option8. 413 apple 3d print models, available for download in stl, obj and other file formats, ready for printing with fdm, sls and other 3d printers. Here you can find apple 3d models ready for 3d printing. This is no surprise since the patent was filed in 2014 and color 3d printing has come a long way since then. Micro & micro+ select crane select promega select quadfusion select duet 2 maestro select m3d pro select create a new support ticket. Download files and build them with your 3d printer, laser cutter, or cnc. Instead, it is more noteworthy because of the fact that it is apple that owns it. Getting the best printer for your mac means ensuring that it can easily connect to your apple product either via wires or wirelessly. Let us know your thoughts in the apple 3d printer forum thread on 3dpb.com. Purchase and download 3d models, stream and print with your own 3d printer, or buy. The illustration of the printer itself shows what one would expect of an fff printer but with a color nozzle as well.